一站式知識產權保護平臺
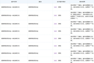
近日據天眼查顯示,潼關肉夾饃協會新增數十條侵害商標糾紛民事-審判定書,裁判結果均為準許原告潼關肉夾饃協會撤訴,案件涉及河南、河北、遼寧、上海等多地區。
2021-12-14
11月26日凌晨,國家知識產權局針對“逍遙鎮胡辣湯”“潼關肉夾饃”商標糾紛事件做出回應。
2021-11-2611月21日潼關肉夾饃事件發生。河南鄭州、洛陽、焦作等多地區幾十家小吃店遭到陜西“潼關肉夾饃協會”起訴,要求他們賠償3至5萬元不等。11月24日最新消息,陜西“潼關肉夾饃協會”官網疑似被黑客入侵,滿屏幕都是“無良協會”字樣。
2021-11-24